THE X4

LA BMW X4 : MOTEURS ET CARACTÉRISTIQUES TECHNIQUES

THE X4LA BMW X4 : MOTEURS ET CARACTÉRISTIQUES TECHNIQUES

CARACTÉRISTIQUES TECHNIQUES DE LA BMW X4.

Sélectionner le modèle

Propulsion totale du véhicule [1]

Type de propulsion Essence - hybride léger
Puissance en kW (ch) 135 (184)
Couple en Nm 300
Boîte de vitesses Boîte automatique à 8 rapports
Type de propulsion Transmission intégrale

Moteur essence TwinPower Turbo [1]

Cylindres 4
Cylindrée en cm³ 1998
Puissance nominale en kW (ch) à t/min 135 (184)/5000-6500
Couple nominal (Nm) à t/min 300/1350-4000

Moteur électrique

Puissance (nominale)/Puissance 30 minutes en kW (ch) 8 (11)/- [4]

Performances

Accélération de 0 à 100 km/h en s 8,4
Vitesse de pointe en km/h 215

Consommation/Émissions de CO2 [1][2]

Consommation de carburant (cycle mixte, WLTP) en l/100 km 8,3-7,5
Émissions de CO2 (cycle mixte, WLTP) en g/km 190-169

Batterie haute tension / 48 V, Recharge

Taille de la batterie en kWh 0,4

Cotes/poids

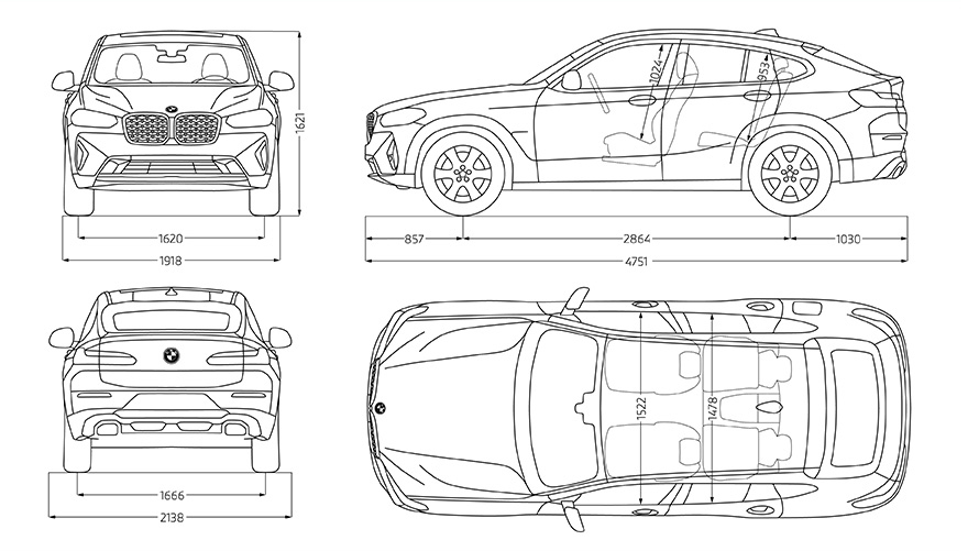
Longueur / largeur / hauteur en mm 4751/1918/1621
Empattement, mm 2864
Poids à vide en kg [3] 1875
Volume du compartiment à bagages en l 525-1430
Capacité du réservoir en l 65
Charge tractable en option freinée au départ d’usine jusqu’à 12 % / charge au point d’attelage en kg 2400/100

Propulsion totale du véhicule [1]

Type de propulsion Essence - hybride léger
Puissance en kW (ch) 180 (245)
Couple en Nm 350
Boîte de vitesses Boîte automatique à 8 rapports
Type de propulsion Transmission intégrale

Moteur essence TwinPower Turbo [1]

Cylindres 4
Cylindrée en cm³ 1998
Puissance nominale en kW (ch) à t/min 180 (245)/5000-6500
Couple nominal (Nm) à t/min 350/1560-4800

Moteur électrique

Puissance (nominale)/Puissance 30 minutes en kW (ch) 8 (11)/- [4]

Performances

Accélération de 0 à 100 km/h en s 6,6
Vitesse de pointe en km/h 235

Consommation/Émissions de CO2 [1][2]

Consommation de carburant (cycle mixte, WLTP) en l/100 km 8,5-7,5
Émissions de CO2 (cycle mixte, WLTP) en g/km 192-171

Batterie haute tension / 48 V, Recharge

Taille de la batterie en kWh 0,4

Cotes/poids

Longueur / largeur / hauteur en mm 4751/1918/1621
Empattement, mm 2864
Poids à vide en kg [3] 1890
Volume du compartiment à bagages en l 525-1430
Capacité du réservoir en l 65
Charge tractable en option freinée au départ d’usine jusqu’à 12 % / charge au point d’attelage en kg 2400/100

Propulsion totale du véhicule [1]

Type de propulsion Essence - hybride léger
Puissance en kW (ch) 265 (360)
Couple en Nm 500
Boîte de vitesses Boîte automatique à 8 rapports
Type de propulsion Transmission intégrale

Moteur essence TwinPower Turbo [1]

Cylindres 6
Cylindrée en cm³ 2998
Puissance nominale en kW (ch) à t/min 265 (360)/5200-6500
Couple nominal (Nm) à t/min 500/1900-5000

Moteur électrique

Puissance (nominale)/Puissance 30 minutes en kW (ch) 8 (11)/- [4]

Performances

Accélération de 0 à 100 km/h en s 4,9
Vitesse de pointe en km/h 250

Consommation/Émissions de CO2 [1][2]

Consommation de carburant (cycle mixte, WLTP) en l/100 km 9,5-8,7
Émissions de CO2 (cycle mixte, WLTP) en g/km 215-198

Batterie haute tension / 48 V, Recharge

Taille de la batterie en kWh 0,4

Cotes/poids

Longueur / largeur / hauteur en mm 4752/1938/1621
Empattement, mm 2864
Poids à vide en kg [3] 1995
Volume du compartiment à bagages en l 525-1430
Capacité du réservoir en l 65
Charge tractable en option freinée au départ d’usine jusqu’à 12 % / charge au point d’attelage en kg 2400/100

Propulsion totale du véhicule [1]

Type de propulsion Diesel - hybride léger
Puissance en kW (ch) 140 (190)
Couple en Nm 400
Boîte de vitesses Boîte automatique à 8 rapports
Type de propulsion Transmission intégrale

Moteur essence TwinPower Turbo [1]

Cylindres 4
Cylindrée en cm³ 1995
Puissance nominale en kW (ch) à t/min 140 (190)/4000
Couple nominal (Nm) à t/min 400/1750-2500

Moteur électrique

Puissance (nominale)/Puissance 30 minutes en kW (ch) 8 (11)/- [4]

Performances

Accélération de 0 à 100 km/h en s 7,9
Vitesse de pointe en km/h 213

Consommation/Émissions de CO2 [1][2]

Consommation de carburant (cycle mixte, WLTP) en l/100 km 6,5-5,7
Émissions de CO2 (cycle mixte, WLTP) en g/km 169-149

Batterie haute tension / 48 V, Recharge

Taille de la batterie en kWh 0,4

Cotes/poids

Longueur / largeur / hauteur en mm 4751/1918/1621
Empattement, mm 2864
Poids à vide en kg [3] 1915
Volume du compartiment à bagages en l 525-1430
Capacité du réservoir en l 68
Charge tractable en option freinée au départ d’usine jusqu’à 12 % / charge au point d’attelage en kg 2400/100

Propulsion totale du véhicule [1]

Type de propulsion Diesel - hybride léger
Puissance en kW (ch) 210 (286)
Couple en Nm 650
Boîte de vitesses Boîte automatique à 8 rapports
Type de propulsion Transmission intégrale

Moteur essence TwinPower Turbo [1]

Cylindres 6
Cylindrée en cm³ 2993
Puissance nominale en kW (ch) à t/min 210 (286)/4000
Couple nominal (Nm) à t/min 650/1500-2500

Moteur électrique

Puissance (nominale)/Puissance 30 minutes en kW (ch) 8 (11)/- [4]

Performances

Accélération de 0 à 100 km/h en s 5,7
Vitesse de pointe en km/h 245

Consommation/Émissions de CO2 [1][2]

Consommation de carburant (cycle mixte, WLTP) en l/100 km 7,0-6,1
Émissions de CO2 (cycle mixte, WLTP) en g/km 182-161

Batterie haute tension / 48 V, Recharge

Taille de la batterie en kWh 0,4

Cotes/poids

Longueur / largeur / hauteur en mm 4751/1918/1621
Empattement, mm 2864
Poids à vide en kg [3] 2010
Volume du compartiment à bagages en l 525-1430
Capacité du réservoir en l 68
Charge tractable en option freinée au départ d’usine jusqu’à 12 % / charge au point d’attelage en kg 2400/100

Propulsion totale du véhicule [1]

Type de propulsion Diesel - hybride léger
Puissance en kW (ch) 250 (340)
Couple en Nm 700
Boîte de vitesses Boîte automatique à 8 rapports
Type de propulsion Transmission intégrale

Moteur essence TwinPower Turbo [1]

Cylindres 6
Cylindrée en cm³ 2993
Puissance nominale en kW (ch) à t/min 250 (340)/4400
Couple nominal (Nm) à t/min 700/1750-2250

Moteur électrique

Puissance (nominale)/Puissance 30 minutes en kW (ch) 8 (11)/- [4]

Performances

Accélération de 0 à 100 km/h en s 4,9
Vitesse de pointe en km/h 250

Consommation/Émissions de CO2 [1][2]

Consommation de carburant (cycle mixte, WLTP) en l/100 km 7,3-6,5
Émissions de CO2 (cycle mixte, WLTP) en g/km 190-171

Batterie haute tension / 48 V, Recharge

Taille de la batterie en kWh 0,4

Cotes/poids

Longueur / largeur / hauteur en mm 4752/1938/1621
Empattement, mm 2864
Poids à vide en kg [3] 2095
Volume du compartiment à bagages en l 525-1430
Capacité du réservoir en l 68
Charge tractable en option freinée au départ d’usine jusqu’à 12 % / charge au point d’attelage en kg 2400/100
Jantes et pneus BMW label pneus UE vue en gros plan

JANTES ET PNEUS BMW.

Nous soumettons les pneus de nos véhicules à des tests stricts avec jusqu'à 50 critères de qualité différents – bien plus que ce qui est légalement requis par l'obligation d'étiquetage uniforme des pneus dans toute l'UE. Vous trouverez ici toutes les informations relatives aux caractéristiques des pneus utilisés par BMW.

Consommation et émissions de CO2 de la BMW X4.

BMW X4 xDrive30i :Consommation de carburant en l/100 km (cycle mixte) : 8,5-7,9 Émissions de CO2 en g/km (cycle mixte) : 193-171 BMW X4 M40i :Consommation de carburant en l/100 km (cycle mixte) : 9,5-8,7 Émissions de CO2 en g/km (cycle mixte) : 216-198

 


Les données officielles sur la consommation de carburant et les émissions de CO2 ont été déterminées conformément à la procédure de mesure prescrite et sont conformes au règlement (UE) 715/2007 tel que modifié. Les données WLTP tiennent compte de tous les équipements en option dans une gamme. Pour les véhicules nouvellement homologués depuis le 01/01/2021, les données officielles n’existent plus qu’après WLTP. Vous trouverez de plus amples informations sur les méthodes de mesure NEFZ et WLTP à l’adresse www.bmw.com/wltp.

En savoir plus

Consommation et émissions de CO2 de la BMW X4.

  • BMW X4 xDrive20d:
    Consommation en l/100 km (cycle mixte): 6,5 -5,7
    Émissions de CO2 en g/km (cycle mixte): 170 -149

    BMW X4 xDrive30d:
    Consommation en l/100 km (cycle mixte) : 7,0 -6,1
    Émissions de CO2 en g/km (cycle mixte): 183 -161

    Les valeurs de consommation de carburant, d'émissions de CO2 et de consommation d'énergie indiquées ont été déterminées conformément au règlement européen (CE) 715/2007 dans la version applicable au moment de la réception du type. Les chiffres se réfèrent à un véhicule avec la configuration de base en Allemagne et la gamme indiquée tient compte des équipements en option et des différentes tailles de roues et de pneus disponibles sur le modèle sélectionné.

    Les spécifications d'efficacité en matière de CO2 sont déterminées conformément à la directive 1999/94/CE et au règlement européen dans sa version actuelle applicable. Les valeurs indiquées sont basées sur la consommation de carburant, les valeurs de CO2 et les consommations d'énergie selon le cycle NEDC pour la classification.

    Pour de plus amples informations sur la consommation de carburant officielle et l'émission spécifique de CO2 des voitures particulières neuves, vous pouvez consulter le "Manuel de la consommation de carburant, de l'émission de CO2 et de la consommation d'énergie des voitures particulières neuves", disponible dans tous les points de vente et sur https://www.dat.de/angebote/verlagsprodukte/leitfaden-kraftstoffverbrauch.html.

Consommation et émissions de CO2 de la BMW X4.

BMW X4 xDrive20d:

Consommation en l/100 km (cycle mixte): 6,5 -5,7
Émissions de CO2 en g/km (cycle mixte): 170 -149

 

BMW X4 xDrive30d:
Consommation en l/100 km (cycle mixte) : 7,0 -6,1
Émissions de CO2 en g/km (cycle mixte): 183 -161

 

Les valeurs officielles de consommation de carburant, d’émissions de CO2, de consommation électrique et d’autonomie électrique ont été déterminées selon la méthode de mesure prescrite et correspondent au VO (UE) 715/2007. Les données WLTP tiennent compte de tous les équipements en option dans une gamme (dans le cas présent, du marché allemand). Pour les véhicules homologués depuis le 01/01/2021, les données officielles se conforment uniquement au cycle WLTP. En outre, conformément au règlement UE 2022/195, les valeurs NEDC seront supprimées dans les certificats de conformité CE à partir du 01.01.2023. 

 

Vous trouverez de plus amples informations sur les méthodes de mesure NEDC et WLTP à l’adressewww.bmw.com/wltp

 

Pour de plus amples renseignements sur la consommation de carburant officielle et les émissions de CO2 des nouvelles voitures particulières, veuillez consulter le guide pratique (intitulé « Consommations conventionnelles de carburant et émissions de gaz carbonique ») disponible gratuitement dans tous les points de vente ou auprès de l’ADEME (Agence de l’Environnement et de la Maîtrise de l’Énergie), Éditions, 2 square Lafayette, BP 406, F-49004 Angers Cedex 01).

En savoir plus

BMW X4 xDrive30d

BMW Serie 1 M135i xDrive CAT E 173g CO2/km

BMW X4 M40d

BMW Serie 1 M135i xDrive CAT E 173g CO2/km

BMW X4 xDrive30i

 BMW Serie 1 118i CAT D 146g CO2/km

BMW X4 M40i

BMW Serie 1 120i CAT D 152g CO2/km

BMW X4 xDrive20d

BMW Serie 1 128ti CAT E 164g CO2/km